3. 2 structure of the splitr
Some cars are often required to travel in bad and roadless conditions, especially for military vehicles, which requires an increase in the number of vehicle-driven vehicles. If the wheel falls into a ditch, the car will not be able to generate the drive and move on. All of its wheels can drive, and if they are not caught in a ditch, they can work and keep the car moving. All wheels of the vehicle must be capable of being driven, adding a split in the back and back wheel, and becoming a land cruiser。
The splitr is to assign the power of the transmission output to the drivers and can further increase the twister. The splitr is also a gear transfer system whose input axis is connected to the engine's output axle, which can have multiple axes, which are linked to the drivers, respectively。
1. Structure of splitrs
The split driver is normally installed on the frame and its input axis is connected directly or via the all-way transmission device to the second axis of the transformer, and its output axis is several, which are connected to the drivers through the all-way transfer device. The splitr, like the transformer, consists of two parts: the gear transfer and the operator. The gear transfer structure consists of a series of parts such as gears, axes and shells. The rig consists of a lever, a forklift, a forklift and a series of rollers and self-locking interlocking devices. It consists of a high and low block switch and a front bridge drive; the self-locking device has a structure similar to that of a transformer. The structure and work of the cherokee jeep bj2021 in beijing is described below。
The splits used in the beijing cherokee jeep bj2021 are two types of motors: those of type 207 and those of type 87a-k. The shape of the two split engines, their manipulation methods and their functions are the same, allowing for a part-time four-wheel drive, a four-wheel drive with high-speed and low-speed barriers and a two-wheel drive with only high-speed barriers. The transmission of the four wheels at the open end of the period was completely disconnected from the engine, with only one stop, during which the vehicle could undergo a four-wheel and two-wheel-drive transformation in a high-stop position, and the breaker was connected to the transmission。
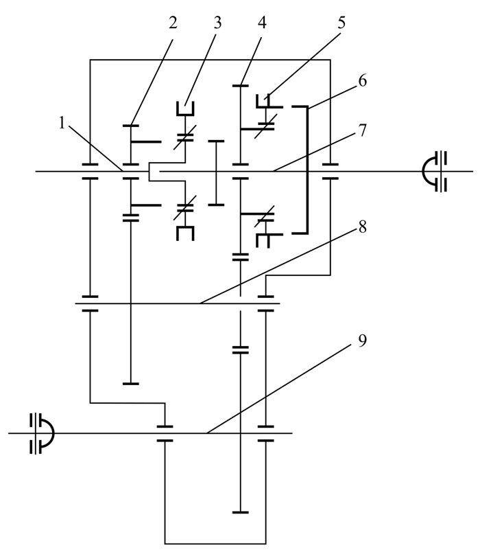
The beijing cherokee jeep bj2021 is currently mainly equipped with an 87a-k splitter, the structure of which is summarized in figure 3. 18。

Figure 3. 18 summary of cherokee 87a-k structure
1-input axes; 2-low gear gears; 3-tooth-dembedded clutches; 4-drive gears; 5-sync patches; 6-sync discs; 7-post-out axis; 8-middle axis and gears; 9-front output axis
The 87a-k splitr has an input axle 1 and an output axle 7 and nine gear axes, as well as an intermediate axle and gear 8. The height of the splitr and the blanks are determined by the position of the teeth-laid mixer unit 3. Combine the inner cavity with a tooth flower key and a tooth flower key that slides at the back of the input axis. When the binder is in different positions, it can be combined with the toothy key of the lower gear 2 or the back output axis 7 respectively, or with the input axis in the middle. When the reins are at the front end, their bouquets are accompanied by the input axle low-barrel and the back-end tooth flower keys, and the enter axle 1 twist is passed through the end-of-axis dentary flower keys and passed to the front axle 9 and the four-wheel-drive gears with a ratio of 2. 36:1. At this point, the synchronous unit 5 is dialed to the rear and join the synchronous disk 6. The twist is transmitted to the back output axis at the same rate as the front output axis。
When the binder is in the middle, it only connects to the flower key of the input axis, without twisting to the output axis and becomes an empty space. When the binder is in the rear position, the twist of the input axis passes directly to the output axis through the binder, at the same speed as the high-shield transmission。
The four-wheel or two-wheel drive of the split drive depends on the position of the synchronous unit, which is equipped with an inert lock-down pattern. When the synchronous unit is in front, the synchronous and synchronous disk is separated, and the power of the rear output axis does not pass to the front axis, but only to the rear; when the synchronous unit is in the rear position, the back output axis not only pursues the four-wheel drive through the front axis of the synchronous unit. Since the positions of the dent-laying clutch 3 and the synchronous unit 5 are controlled by the synchronous disk and two forklifts, respectively, this precludes low-speed two-wheel-drive work and prevents the twisting from spreading too large to damage the transmission unit。
Inertial lock-down synchronizers are used only for pre-wheel-drive coupling at high speed, with two-wheel-drive high-drive high-dry-drive-dry-dry-dry-dry power, allowing for two-wheel or high-drive-drive changes in vehicle movements. Since the high and low barriers are transposed by a combination, they must be carried out when the vehicle is completely static. Otherwise, there would be a strong coupling impact and noise, even damage to the parts and difficulties in changing them。
2. Motion transfer routes for splitrs
Using the beijing cherokee jeep 87a-k splitter as an example of the power transfer route of the splitr, as shown in figure 3. 19。

Figure 3. 19 cherokee 87a-k power transfer road map (as shown in figure 3. 18)
1) 4x4 low speed
A 3-left transfer of the dent-laid compressor, a 5-right shift of the synchronous bond, a 3-zid-coloured 2-zid-coding and 8-zid-coding pre-axis 9-zid 4x4 coding of the chord, a 6-zid coding disk。
2) 4x4 high speed
A 3-right transfer of the denture-deep clutch, a 5-right shift of the synchronous mix, and a 3-swipe dent-dip-sync of the dent-dip-dip-dip-dip-dip。
3) 2x4 high speed
The tooth-diplomatic clutch binds 3 right, the synchronous combines 5 left, and enters the axle 1 dent-diplomatic mixer combines 3 and the output axle 7。




