In recent years, the country's ceramic industry has grown rapidly, with grinding machines being the equipment necessary for the production of ceramics, which have been widely used since 1893 for the destruction of raw materials in mining, metallurgical, construction, chemical and electricity industries。
In recent years, the country's ceramic industry has grown rapidly, and the grinding machines, which are necessary equipment for the production of ceramics, have been widely used for the destruction of raw materials in the mining, metallurgical, construction, chemical and electricity industries since their emergence in 1893。

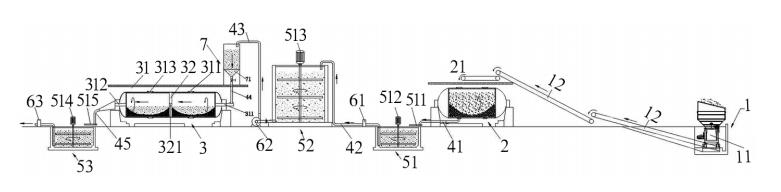
Continuous ceramic ball grinder
In the early stages of the development of the grinding machine, which was mainly intermittent, the grinding of ceramic materials by intermittent grinding machines is prone to excessive grinding of materials, longer cycles of required grinding, inefficient grinding, heavy effort in unit products and difficulties in automating production processes such as adding, adding water, grinding and unloading materials. With the development of technological processes, most of these industries are now using continuous ball grinding。
Main construction and working principles of a continuous machine
The continuous porcelain mills consist mainly of moving devices, cartridges, fillings, discharges and electrical controls (not illustrated)。

Schema of a continuous porcelain mill
1-slurry tubes 2, 13-main bearings and axe bearings 3-spills 4-spills 4-spills and discharge blades 6, 7-cylinder walls and inner linings 8, 9-shelters and proton blades 10-accidental vents 11-triangular belts 12-upholstery 14, 15-spills and drums 16, 17-steal turbines and coaxors 18, 19-auxiliary electrics and corrosors 20-squallers 21-square rotors 22-line collagers 23-line coming machines 24-little wheel 25-little axes 26-little device

Processes of continuous ball grinding system figure
Feeder 1, feed vent 11, conveyor belt 12, intermittent grinder 2, feed mouth 21, two-part ball grinder 3, cartridge 31, slurry hole 311, slurry hole 312, pebble hole 313, steel plate 32, spillhole 321, first slurry 41, second slurry 42, third slurry 43, fourth slurry 44, slurry pool 51, first vibration screening 511, first slurry 512, second vibration sift 513, third swab 514, second vibration sift 515, plurry pool 53, mid-slurry pool 52, slurry pool 53, slurry pump 61, slurry pump 62, pump 63, steady pressure tank 7
Driving devices
The pottery industry has a large production and load of continuous ball grinders, so the required power is high. It is usually used to drive hard-coated cylinder gear brakes by a combination of hydrocoding machines with a hundred kilowatts of large power, and to rotate the cylinders by a pair of gears。
Boxing
The cartridges consist mainly of cartridges, left and right covers and main bearings. The receptors of the tubes are complex, so the tubes of the continuous ceramic mills are usually welded in low alloy high-strength steel plates. In order to protect metal surfaces such as cartridges and left and right caps from damage, all surfaces that come into contact with materials, such as cartridges and left and right sides, are covered with grinding rubber linings。
Feeders
The mid-air axis of the feed cover contains, for example, a cylinder and a spiral blade, but there is a certain gap between the inner circle surface and the outer edge surface of the spiral blade of the input axis. Thus, when the gear-reducing machine rotates through a spiral blade driven by a joint axis, it can force material, water and grinding agents, etc., in the plume to be added continuously to the operational clattering cavity. Also in order to reduce wear and to facilitate the replacement of drums and crumbs, all metal parts that come into contact with materials (other than spiral blades) should be covered with grinding rubber linings。
Dischargers
Discharge sieves, unloading blades, etc. Are integrated and are secured by high-strength bolts on the output end. When working, the slurry-free sifter, the offloading blades and the offloading cone were rotated with the swirling body, so that the material in the grinding cavity that met the particle level requirements was sifted out of the slurry sifting, and into the space between the outlet sift, offloading blades and offload cone, it was immediately unloaded with the foliage cone. When the body is brought up and elevated to the upper part of the cartridge, the plasma meeting the particle level requirements falls out of the machine along the discharge cone into the middle axis of the material's cover. All metal surfaces in contact with materials should also be covered with grinding rubber linings to increase their useful life。
Electrical control devices
The continuous porcelain mills should normally operate smoothly with a frequency or soft starter to reduce the impact on the grid. Automatic control and parameter displaying of the entire production process, such as heating, watering, grinding and unloading, through the plc control system, and a clear display of the working state of the mills on the electro-control panel, which facilitates monitoring of the operation of the continuous mills of the ceramic industry and facilitates the diagnosis and handling of equipment malfunctions。
The superiority of a continuous machine
The superiority of a continuous ball grinder over an intermittent machine is reflected in:
The effect of energy efficiency is evident by reducing the visceral viscosity of grinding mud due to the increased temperature and dynamic slurry in the continuous ball grinder tubes, thereby reducing the amount of water used for the grinding material and the evaporation of the spray drying towers。
2 the equipment set is controlled by plc and is largely unmanned and centralized。
Depending on the characteristics of the raw material, the cartridges are typically divided into two to three silos, each of which is equipped with a suitable grinding body, thus producing the best grinding effect。
Access materials are of a continuous nature, freeing up intermittent grinding machines and slurry hours, which are efficient and automated。
Electricity consumption decreased by more than 20 per cent and space was saved by more than 20 per cent。




